网站导航
18183首页 > 游戏新闻 > 单机游戏 > 正文

索尼黑科技来了!PS手柄能变形松开还自动恢复,未来感拉满!

来源:未知 Elodia 25-02-12 13:28:36

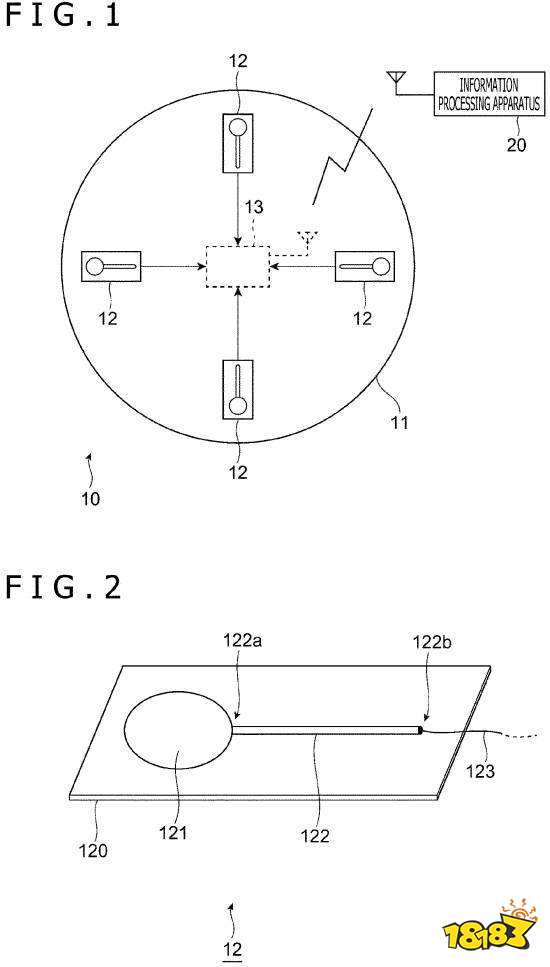
据外媒报道,索尼日前发布了一项新的专利,这项专利展示了一款具有自由变形能力的次世代PlayStation手柄,手柄的握把能以最适合玩家的方式扭曲和弯曲,并在玩家松开后恢复原状,以增强触觉反馈感受和沉浸感。 ​​​

索尼黑科技来了!PS手柄能变形松开还自动恢复,未来感拉满!

据悉,索尼近年来还发布了一些独特的专利,包括一种通过预测玩家输入来解决游戏延迟问题的专利,以及另一种实时检测玩家愤怒情绪以调整游戏玩法的专利。

索尼黑科技来了!PS手柄能变形松开还自动恢复,未来感拉满!

索尼黑科技来了!PS手柄能变形松开还自动恢复,未来感拉满!

免责声明:文中图片应用自网络,如有侵权请联系删除

0

0

良心手游推荐热门游戏推荐
游戏评测
热门新闻
热门攻略
下拉加载更多
wu